產品直通車
products center- KWA系列熱保護器 KWA/B Thermal Protector
- KWB系列熱保護器
- KW型金屬外殼大電流系列保護器 KW Series Thermal Protector With Metal Shell
- KWC型金屬外殼16A系列保護器
- KWC型金屬外殼25A系列保護器
- KWC型金屬外25A三相系列保護器
- KWB-B6D系列溫控器 KWG series thermostat
- 17AM系列熱保護器 17AM Series Thermal Protector
- KWA(9700K)系列 KWA large current series
- TB02系列產品 TB02 series
- 3MP系列熱保護器
- 3MP+PTC系列熱保護器
- 6AP系列熱保護器
- 6AP+PTC系列熱保護器
- 中國江蘇省常州市新北區安家工業園振興路100號
- 0519-85975929

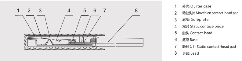
結構特點
KW型溫度保護是由碟形高靈敏雙金屬元件、動觸頭、靜觸片、固定底板、外殼和耐溫導線等組成。工作時雙金屬元
件處于自由狀態,動觸頭與靜觸片閉合,電路導通。當使用電器因故發熱,溫度上升到該產品額定動作溫度值時,雙金 屬 元 件
受 熱 生 內 應 力 耐 迅 速 動 作,打 開 觸 點切 斷 電 源、電器停止工作,從而起到熱保護作用。當裝置冷卻到安全工作溫度時
觸點自動閉合,電器恢復工作狀態。該產品具有電阻小,感溫快、無噪聲、動作迅速、安全可靠等優點。
產品優勢
- 體積小,便于安裝
- 內阻低,小于25豪歐姆
- 速動型雙金屬片,反應速度快
- 壽命高達10000次以上
- 防真空浸漆工藝
應用范圍
洗衣機電機、空調風扇電機、水泵電機、變壓器、鎮流器、電動工具、汽車直流電機、電機電子組件、電加熱器等。
產品結構圖

安裝及外形尺寸

觸點容量
KW型在下述條件可分段,接通保護10000次以上。

常用溫度規格
| 動作溫度 | 復位溫度 | 動作溫度 | 復位溫度 |
| 70±5℃ | 50±15℃ | 115±5℃ | 80±15℃ |
| 75±5℃ | 50±15℃ | 120±5℃ | 80±15℃ |
| 80±5℃ | 55±15℃ | 125±5℃ | 85±15℃ |
| 85±5℃ | 60±15℃ | 130±5℃ | 90±15℃ |
| 90±5℃ | 60±15℃ | 135±5℃ | 95±15℃ |
| 95±5℃ | 65±15℃ | 140±5℃ | 100±15℃ |
| 100±5℃ | 70±15℃ | 145±5℃ | 105±15℃ |
| 105±5℃ | 70±15℃ | 150±5℃ | 105±15℃ |
| 110±5℃ | 75±15℃ | 特殊規格可根據客戶要求制定 | |
